区委 区委
人大 人大
政府 政府
政协 政协
呼和浩特市人民政府
登录 / 注册
长辈版
暖心专区
无障碍模式
集约化站群 集约化站群

旗县区

  • 土默特左旗
  • 托克托县
  • 和林县
  • 清水河县
  • 武川县
  • 新城区
  • 回民区
  • 玉泉区
  • 赛罕区

委办局

  • 发展和改革委员会
  • 教育局
  • 科学技术局
  • 工业和信息化局
  • 民族事务委员会
  • 公安局
  • 民政局
  • 司法局
  • 财政局
  • 人力资源和社会保障局
  • 自然资源局
  • 生态环境局
  • 住房和城乡建设局
  • 交通运输局
  • 水务局
  • 农牧局
  • 商务局
  • 文化旅游广电局
  • 卫生健康委员会
  • 退役军人事务局
  • 应急管理局
  • 审计局
  • 外事办公室
  • 市国有资产监督管理委员会
  • 市场监督管理局
  • 体育局
  • 统计局
  • 林业和草原局
  • 国防动员办公室
  • 医疗保障局
  • 信访局
  • 市城市管理局
  • 行政审批和政务服务局
  • 公共资源交易监督管理局

开发区

  • 呼和浩特综合保税区
  • 经济技术开发区
  • 和林格尔新区

其他

  • 呼和浩特市地铁
  • 呼和浩特市园林建设服务中心
蒙古文版蒙古文版
呼和浩特市新城区人民政府
搜本站
  • 搜本站
  • 搜平台
退出长辈版
  • 首页
  • 政务动态
  • 政务公开
  • 政务服务
  • 政民互动
  • 数据发布
  • 走进新城
当前位置: 首页 - 政务动态 - 公示公告
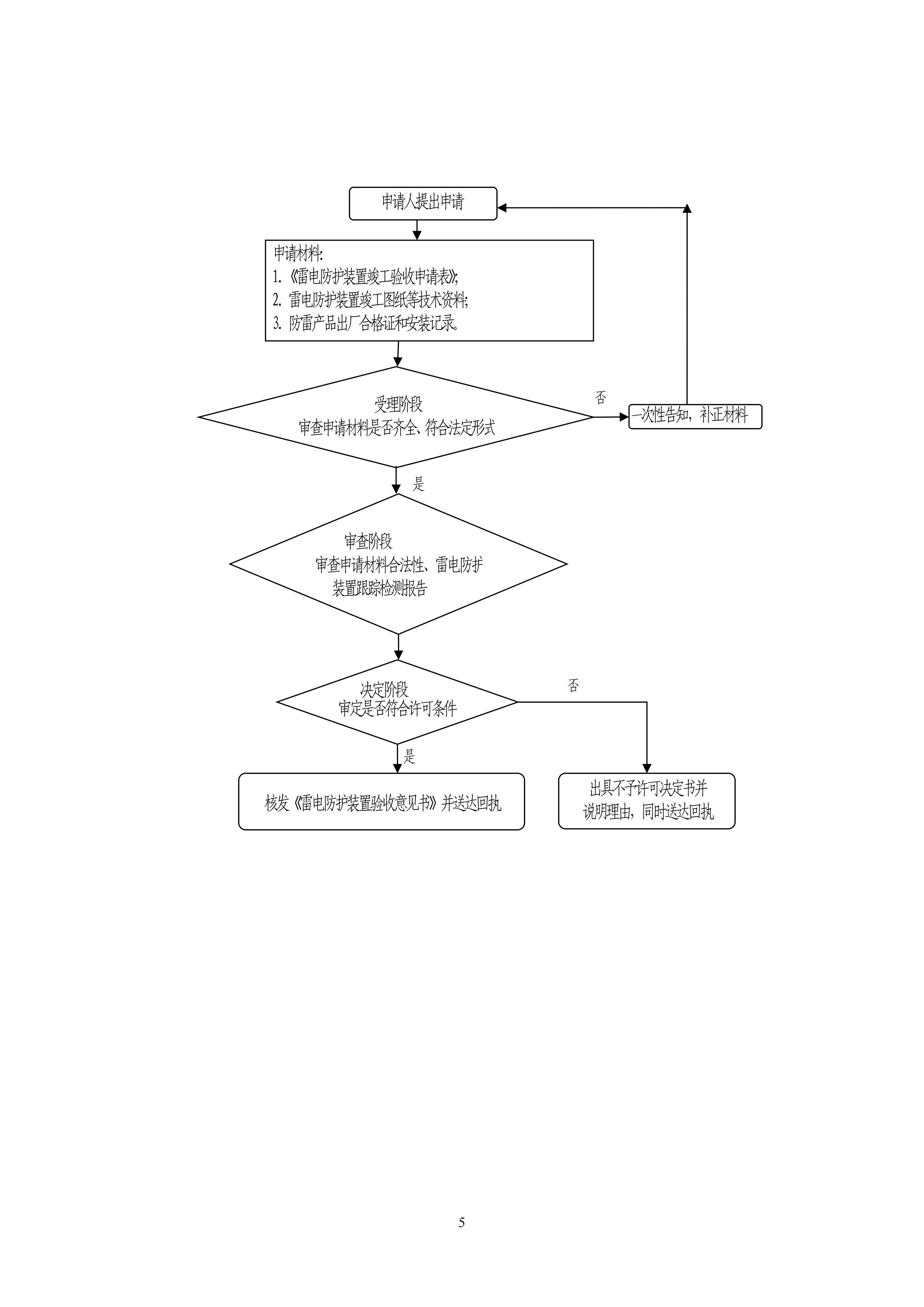
雷电防护装置竣工验收审批事项服务指南
发布日期发布日期:2026-01-04 11:00 点击量点击量:
来源来源:呼和浩特市新城区气象局
字体:[ 大 中 小 ]


附件下载:
打印
分享
扫一扫在手机打开当前页

政策文件

中国政府网
内蒙古自治区人民政府
呼和浩特市人民政府
新城区政府机构
其他组织机构
  1. 新城区人大
  2. 新城区政协
呼和浩特市旗县区
  1. 土左旗
  2. 托克托县
  3. 和林县
  4. 清水河县
  5. 武川县
  6. 回民区
  7. 玉泉区
  8. 赛罕区
政务微信 政务微信
政务微博 政务微博
网站地图
网站声明
联系我们
主办:内蒙古呼和浩特市新城区人民政府承办:内蒙古呼和浩特市新城区人民政府办公室
蒙ICP备09004058号-3政府网站标识码:1501020001 蒙公网安备 15010202150346号蒙公网安备 15010202150346号
积分查询
未经书面允许不得转载信息内容、建立镜像 E-mail:xcwl605@163.com 网站技术维护电话:0471-6218605  
大美新城

新城发布

大美新城

大美新城

清风新城

清风新城

云上新城APP

无障碍模式 长者模式
呼和浩特市新城区政府
搜本站
  • 搜本站
  • 搜平台
呼和浩特市新城区政府
  • 政务动态

  • 政务公开

  • 政务服务

  • 政民互动

  • 数据发布

  • 走进新城

当前位置: 首页 - 政务动态 - 公示公告

雷电防护装置竣工验收审批事项服务指南

发布日期:2026-01-04 11:00点击量:

来源:呼和浩特市新城区气象局


附件:

政策文件

主办:内蒙古呼和浩特市新城区人民政府

蒙ICP备09004058号-3

政府网站标识码:1501020001

蒙公网安备 15010202150346号

党政机关 政府找错