返回首页
页面放大
页面缩小
语音播报
指读
大鼠标
退出
公示公告
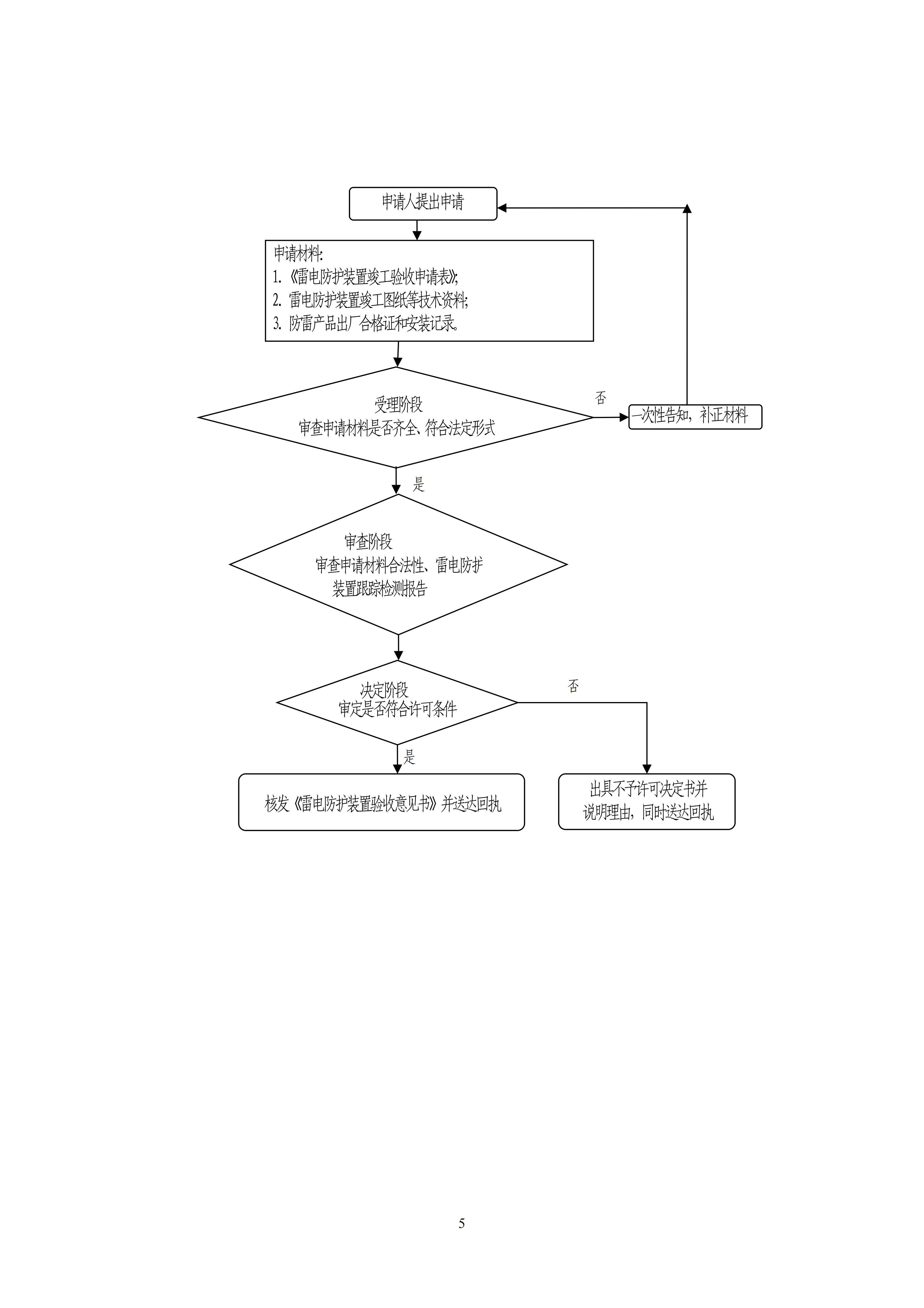
雷电防护装置竣工验收审批事项服务指南
发布日期:2026-01-04 11:00
来源:呼和浩特市新城区气象局
朗读
附件: