清明将至
慎终追远
又是一年缅怀先人
寄托哀思的时节
为全力守护城市生态环境
严防祭扫引发火灾安全隐患
同时满足广大市民就近祭扫的需求
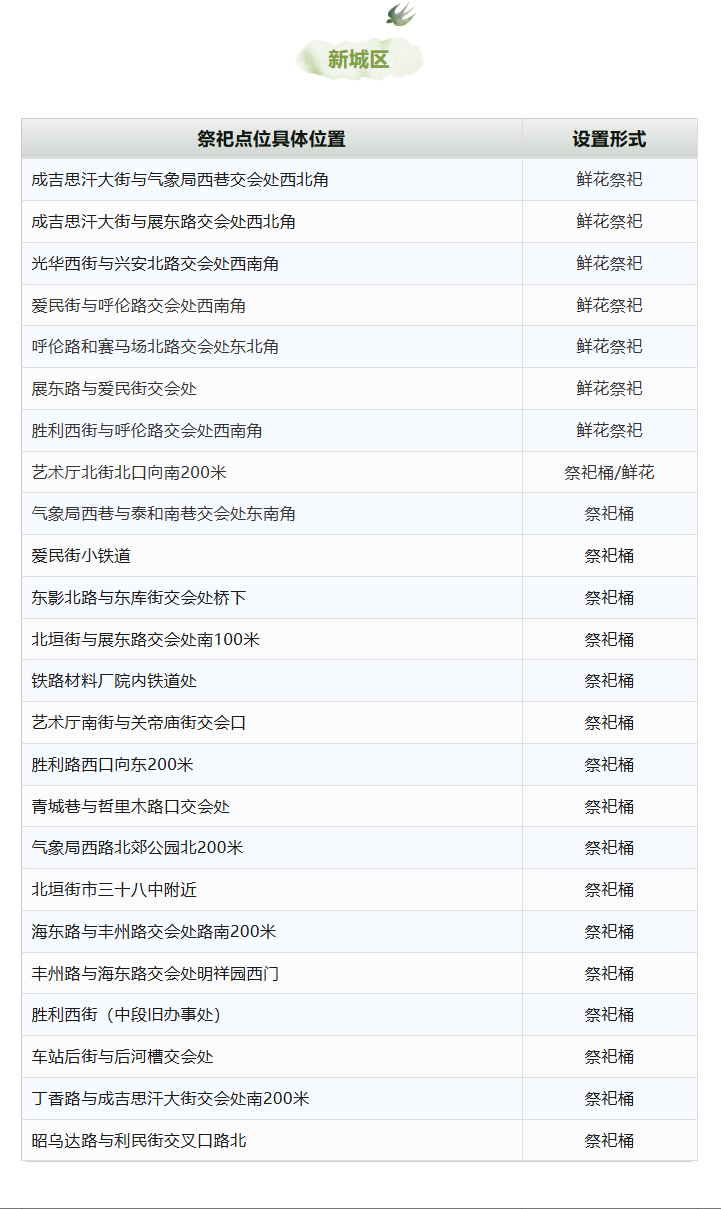
市城管局在市区范围内
共设置95个文明祭祀点位
方便市民有序、文明、安全寄托追思




1. 本次祭祀点位分鲜花祭祀、祭祀桶祭祀两类,请广大市民提前查看点位信息,认准现场标识,严格按照各点位指定的祭祀方式开展祭扫活动,切勿违规混用祭祀方式。
2. 选择祭祀桶祭祀的市民,仅可在点位指定的专用焚烧容器内规范焚烧祭祀用品,坚决杜绝在街头、绿地、小区等非指定区域随意焚烧、乱堆乱放祭祀用品。
3. 祭祀仪式结束后,请务必仔细确认火源彻底熄灭、无复燃隐患后再离开,自觉维护点位周边公共安全与环境卫生。
4. 倡导错峰祭扫、绿色出行,尽量避开祭扫高峰时段,减少人员聚集,共同维护有序的祭扫秩序。
慎终追远重在心
文明祭扫践于行
清明祭扫
心意远比形式重要
一束鲜花寄哀思
规范焚烧守安全
让我们自觉遵守祭祀点位管理要求
摒弃祭扫陋习
以文明、安全、环保的方式缅怀先人
共度一个平安、绿色、文明的清明节
共同守护我们的美丽家园
来源:青橙融媒
(Mac用户使用Command+S保存)
发布日期:2026-04-02 10:15点击量:
来源:新城区融媒体中心
清明将至
慎终追远
又是一年缅怀先人
寄托哀思的时节
为全力守护城市生态环境
严防祭扫引发火灾安全隐患
同时满足广大市民就近祭扫的需求
市城管局在市区范围内
共设置95个文明祭祀点位
方便市民有序、文明、安全寄托追思




1. 本次祭祀点位分鲜花祭祀、祭祀桶祭祀两类,请广大市民提前查看点位信息,认准现场标识,严格按照各点位指定的祭祀方式开展祭扫活动,切勿违规混用祭祀方式。
2. 选择祭祀桶祭祀的市民,仅可在点位指定的专用焚烧容器内规范焚烧祭祀用品,坚决杜绝在街头、绿地、小区等非指定区域随意焚烧、乱堆乱放祭祀用品。
3. 祭祀仪式结束后,请务必仔细确认火源彻底熄灭、无复燃隐患后再离开,自觉维护点位周边公共安全与环境卫生。
4. 倡导错峰祭扫、绿色出行,尽量避开祭扫高峰时段,减少人员聚集,共同维护有序的祭扫秩序。
慎终追远重在心
文明祭扫践于行
清明祭扫
心意远比形式重要
一束鲜花寄哀思
规范焚烧守安全
让我们自觉遵守祭祀点位管理要求
摒弃祭扫陋习
以文明、安全、环保的方式缅怀先人
共度一个平安、绿色、文明的清明节
共同守护我们的美丽家园
来源:青橙融媒